在全国抗击疫情的关键时刻,火神山医院、雷神山医院以“中国速度”为患者们提供了一个安心的环境。然而,在一些“精打细算”的企业或个人眼里,这竟然变成了商机,他们在商标局开门后,立即抢注了“火神山”、“雷神山”的商标。
北京京师律师事务所熊超律师告诉观察者网,此行为涉嫌违反《中华人民共和国商标法》。
观察者网查询国家知识产权局商标局的官网发现,有近30家企业或个人注册了“火神山”商标,涉及化学工业品、药物、游戏器具和玩具、广告、印刷品等多个品类。

本文图片均自商标局官网
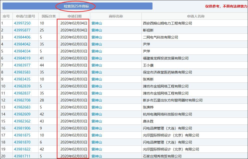
注册了“雷神山”商标的有20多家企业或个人,涉及服装、医疗器械、法律服务、科学技术服务等多个类别。

这些企业或个人的注册时间最早为2月3日,而当天正是全国多地商标注册大厅正常开放的日期。
疫情还没结束,却在第一时间抢注了全国民众都熟悉的“火神山”、“雷神山”,如此“精打细算”的行为也让大部分网友感到反感。
那么,如此做法究竟是否合法,该商标能够被使用吗?对此,观察者网采访了北京京师律师事务所的熊超律师。
他介绍,按照法律规定,只要文件材料合适、形式合格就可以申请商标注册,但这并不代表商标合格。一般商标注册分为注册→受理→实质审查→公告几个阶段,如果审查合格,商标局会给公告期三个月,期间若无人有异议,期满后商标合格;如果没有通过,会进行驳回处理。整个流程一共持续12个月。

如果2月份注册,出公告的日期大概在今年10月份或者11月份。
熊超律师告诉观察者网,其实,这两个商标最终进入公告期的可能性不大,因为它违反了《中华人民共和国商标法》第十条第八项:有害于社会主义道德风尚或者有其他不良影响;他表示,鉴于“火神山”、“雷神山”是在特殊疫情之下产生的具有特殊社会意义和国际影响的名称,那么以其作为商标进行注册不合适也有违于社会主义道德风尚。
所以,一般商标局会在实质审查阶段以《商标法》的第十条为由,予以驳回。
观察者网还发现,除了“火神山”、“雷神山”,当年“非典”之后,有人以“钟南山”为名注册了商标;

但直到现在,这些商标仍未生效。2018年,又有企业注册了“钟南山”,该申请被驳回。

文章来源:新浪财经 观察者网