10月25日,深圳市市场监督管理局发布了关于《深圳市市场监督管理局知识产权领域专项资金操作规程》的通知。

复习具体内容戳这里:《深圳境外商标注册补贴政策出炉,看看你能领多少!》
为了卖家朋友们更直观的看到具体的补贴事项,我们做了一个表格,把深圳2019年新的知识产权资助政策都安排的明明白白了,要领补贴的小伙伴可以下载下来研究~

注意:
新的商标补助申请实行网上全流程办理,预计11月30日前深圳市市场监督管理局会有商标补助流程的公告,目前各单位和个人先登录广东省政务服务网(http://www.gdzwfw.gov.cn/)在2019年11月30日之前注册账户L3认证办理,以免影响后续项目申报!
所以,今天小编主要跟大家分享如何办理L3认证,感兴趣的小伙伴接着往下看~
各单位和个人可以通过使用账户/数字证书两种方式登录广东省政务服务网。
一、账户实名核验(办事大厅现场核验,办理免费,立即办结,即刻生效)
办理账户可信等级L3级别实名核验,需带到现场材料如下:
1、法人本人办理:本人身份证原件、单位证件原件(营业执照)、单位公章)
2、非法人本人办理:经办人身份证原件、单位证件原件(营业执照)、单位公章、法人授权委托书。
3、个人办理不可以授权,必须本人持身份到现场实名办理。
注:如公章不方便外带,请在窗口领取协议书回单位按要求盖好公章再回到大厅递交(现场签署一份协议需要盖公章)。
可到如下窗口办理:
深圳市福田区福中三路市民中心B区行政服务大厅东厅56、57号窗
深圳市宝安区新安街道宝安大道与罗田路交汇处的宝安区体育中心综合楼训练馆一楼宝安区政务服务中心1号窗口
深圳市坪山区金牛西路12号行政服务大厅一楼18号窗口
深圳市光明区牛山路与德雅路交汇处公共服务平台一楼行政服务大厅23号窗口
深圳市龙华区梅龙大道2283号国鸿大厦A座行政服务大厅一楼4号窗口
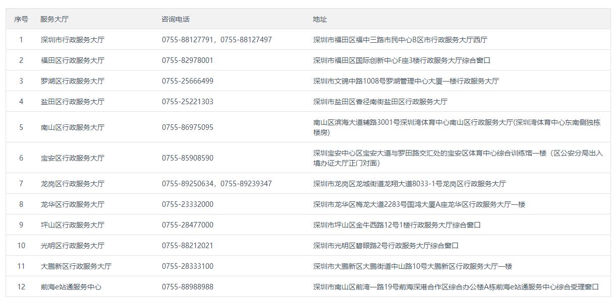
各行政服务大厅咨询电话如下:

二、数字证书核验(企业自行认证)
单位用户可使用数字证书进行核验,核验成功后支持使用数字证书登陆,账号等级可提升到L3,必要时联系数字证书机构。
主要步骤:
1、进入广东政务服务网首页,点击导航区右上角的“登录”。
2、点击右上角已登录的用户名,在下拉框中点选“账户管理”。
3、在账户管理页的账户可信等级栏,选择“数字证书核验”。
三、相关链接
广东省政务服务网账号可信等级认证指南-企业用户:(来源: 广东省政务服务网:http://www.gdzwfw.gov.cn/portal/help/doc-account-verified.html)
广东政务服务网法人用户注册:(信息来源: 广东政务服务网)前往广东政务服务网: http://www.gdzwfw.gov.cn/, 点击页面右上角的“登陆”
省网咨询电话: 020-83134264
注意:一定要在11月30日前完成L3认证,否则无法进行网上申请。
后续如有任何新政变更,跨境知道也会及时同步给卖家朋友们,请大家持续关注哦~
(跨境知道/原创:格林)